Tatramat EO 5 P - pod umývadlo
Code: 201387Related products
Product detailed description
Tatramat EO 5 P
- malý elektrický závesný beztlakový ohrievač vody pod umývadlo
- s pákovou batériou
- objem: 5 litrov
- výkon: 2 kW
Elektrické akumulačné beztlakové ohrievače vody sú určené na prípravu teplej vody všade tam, kde sú nutné časté odbery teplej vody v menšom objeme.
Ohrievače EO 5 P sú beztlakové ohrievače vody s plastovou nádržou s prevádzkovým tlakom 0 MPa pre jedno odberné miesto. Sú napojiteľné iba na špeciálnu beztlakovú zmiešavaciu batériu dodávanú ako príslušenstvo.
Inštalácia ohrievačov na rozvod vody je jednoduchá a na uvedenie do prevádzky stačí iba pripojenie do elektrickej zásuvky.
Jednoduchá inštalácia, ovládanie a údržba
- možnosť inštalácie pod umývadlo
- uvedenie do prevádzky pripojením do elektrickej zásuvky
- možnosť nastavenia optimálnej teploty ohrevu
Viacstupňová ochrana
- bezpečnostný termostat
- tepelná bezpečnostná poistka proti prehriatiu
- poistka proti zamrznutiu vody
Uzívateľský komfort
- krátke doby ohrevu
- signalizácia ohrevu
- beztlaková zmiešavacia batéria ako príslušenstvo
Úspornosť a nízka energetická náročnosť
- tepelná polystyrénová izolácia
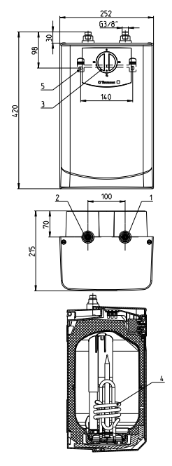
Popis a rozmery

1. Výtoková rúrka
2. Výtoková rúrka
3. Otočný regulátor teploty
4. Ohrievacie teleso
5. Závesná konzola
| Parametere | EO 5 P |
|---|---|
| Menovitý objem (l) | 5 |
| Spôsob ohrevu | elektrický |
| Vyhotovenie | beztlakový |
| Menovitý pretlak v nádrži (MPa) | 0 |
| Elektrické napätie | 1/N/PE ~ 230 V |
| Príkon (kW) | 2 |
| Max. vypínacia teplota termostatu (°C) | max. 85 ± 3 ºC |
| Inf. čas ohrevu z 15 °C na 65 °C (min) | 9 |
| Tepelné straty (kWh/24h) | 0,29 |
| Hmotnosť (kg) | 3 |
| Elektrické krytie | IP 24 |
| Trieda energetickej účinnosti | A |
| VxŠxH (cm) | 42 x 25,2 x 21,5 |
-
Zdravim Potreboval by som poradit pri kupe prietokoveho ohrievaca vody pod kuchynske umyvadlo na chatu - iba veekendova prevadzka. Aky je rozdiel medzi prietokovym tlakovym a beztlakovym - ktory je lepsi ??? Ci je este vyhodnejsi so zasobnikom - cca 5 litrov ??? Dakujem
-
Zravím Vás potrebujem poradiť s ohrievačom-bojlerom na chalupu a to jak na drevo či 230 V.Vraj v Maďarsku to dostať,ale nevie s ktomu dopátrať.Pekne Ďakujem
-
Dobrý deň, Na priloženom odkaze nájdete našu kompletnú ponuku bojlerov - https://www.atria.sk/elektricke-kotly/stacionarne-kotly-a-zasobniky/zasobniky-a-bojlery/. Avšak bojler, ktorý požadujete žiaľ v ponuke nemáme. Pekný deň.
-
Dobrý deň! chcela by som sa poradiť s Vami o kúpe bojlera na chalupu.Máme tam bojler značky Tatramat 80 l asi 12-13 rokov starý a značne nedoplatky za elektrinu.Nevieme či ho máme vypínať cez týždeň alebo ho nechať zapnutý.Chodíme tam len na víkendy.Tak uvažujeme o kúpe nového,poprípade mi napíšte čo máme robiť aby naše účty za elektrinu neboli také vysoké.Budem vám vďačná za odpoveď.Vonkomerová Zvolen
-
Dobrý deň, môžeme si rovno napísať, že vykurovanie, alebo ohrev vody elektrikou je, bol a vždy aj bude drahá záležitosť. Kúpou nového bojlera podla mňa nedocielite značného znížená spotreby. Každý bojler na ohrev vody potrebuje určitý výkon v kWh, či je nový, či starý. Možno by stál za zmienku ariston velis https://www.atria.sk/zasobniky-a-bojlery/ariston-velis/ , ktorý ma už vyššiu cenu, avšak ohrev vody ma vyriešené lepším spôsobom, ako ostatní výrobcovia.
-
-
Tento tatramat je beztlakový, tlak vody sa dá zredukovať https://www.atria.sk/kurenie-profesionalne-ivar/gulove-ventile-filtre-klapky/redukcne-ventily-s-manometrom/ ale nie som si úplne istý, či to bude fungovať, keď tlak vody zredukujete na minimum.
Additional parameters
| Category: | beztlakové |
|---|---|
| Warranty: | 2 years |
| Weight: | 6 kg |
Be the first who will post an article to this item!
List of discussions
P
peter
Dobrý deň. Chcel by som sa Vás opýtať ako by som mohol ohrievač tatramat typu EO 5 P napojiť na tlakové potrubie v ktorom je tlak vody asy 5 bar. Možem dať tam nejaký regulačný ventil na prívod vody ?
A
atria
Tento tatramat je beztlakový, tlak vody sa dá zredukovať https://www.atria.sk/kurenie-profesionalne-ivar/gulove-ventile-filtre-klapky/redukcne-ventily-s-manometrom/ ale nie som si úplne istý, či to bude fungovať, keď tlak vody zredukujete na minimum.
V
veronika
Dobrý deň! chcela by som sa poradiť s Vami o kúpe bojlera na chalupu.Máme tam bojler značky Tatramat 80 l asi 12-13 rokov starý a značne nedoplatky za elektrinu.Nevieme či ho máme vypínať cez týždeň alebo ho nechať zapnutý.Chodíme tam len na víkendy.Tak uvažujeme o kúpe nového,poprípade mi napíšte čo máme robiť aby naše účty za elektrinu neboli také vysoké.Budem vám vďačná za odpoveď.Vonkomerová Zvolen
A
atria
Dobrý deň, môžeme si rovno napísať, že vykurovanie, alebo ohrev vody elektrikou je, bol a vždy aj bude drahá záležitosť. Kúpou nového bojlera podla mňa nedocielite značného znížená spotreby. Každý bojler na ohrev vody potrebuje určitý výkon v kWh, či je nový, či starý. Možno by stál za zmienku ariston velis https://www.atria.sk/zasobniky-a-bojlery/ariston-velis/ , ktorý ma už vyššiu cenu, avšak ohrev vody ma vyriešené lepším spôsobom, ako ostatní výrobcovia.
M
mikulas
Zravím Vás potrebujem poradiť s ohrievačom-bojlerom na chalupu a to jak na drevo či 230 V.Vraj v Maďarsku to dostať,ale nevie s ktomu dopátrať.Pekne Ďakujem
A
atria
Dobrý deň, Na priloženom odkaze nájdete našu kompletnú ponuku bojlerov - https://www.atria.sk/elektricke-kotly/stacionarne-kotly-a-zasobniky/zasobniky-a-bojlery/. Avšak bojler, ktorý požadujete žiaľ v ponuke nemáme. Pekný deň.
